丛林地和森林地战斗·附录三
丛林地和森林地战斗·附录三
作者:J·F·C·富勒 ·英国
出自————《装甲战》
出自————《现代军事理论》
在这类战斗中,所有纵队均应相距不远。前卫应不远离主力的先头分队,后卫应配有强的兵力,因为敌人常常潜伏并从后面袭击纵队。前卫和后卫应由三部分组成(见图二十七):即先头分队和两个侧卫。

先头分队或前哨遭到射击,就应立即停止前进,并用火力牵制敌人,同时侧卫应前出,并设法在先头分队火力掩护下绕过敌人翼侧,攻击敌后方。这是一种我们熟知的作战行动,即牵制、机动、攻击。
在森林地作战中,最好的编队形式是菱形或弹性方队:一个先头分队、两个侧卫和一个后卫,每个队都准备担负下述三项任务中的任何一项。如图二十八所示,战斗纵队以B为先头分队。如果A遭到攻击,A即牵制敌人,B和C向敌之翼侧机动,D留作预备队。如果B遭到攻击,那么B立即牵制敌人,A和D则机动,依此类推。

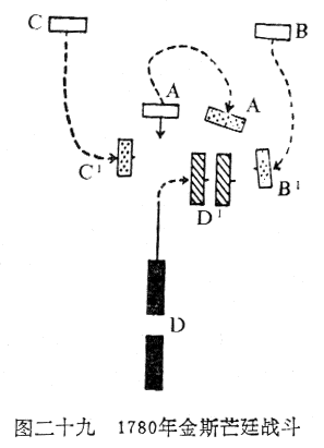
1780年,美国独立战争期间,在金斯芒廷发生了一次这种战术的有趣的实例。帕特里克·弗格森少校领导的几名英国军人和当地民兵,同摩根领导的人数相当的美国森林地带的居民遭遇了。摩根把他的部队分编成三个队——A、B和C。见图二十九。当A与弗格森的纵队D接火时,A撤退。当D紧追着A前进时,突然D翼侧遭到B威胁。于是,D改变方向,转而对付B的威胁。这时A又转回来攻击D的左侧,而C攻击D的后方,很难设计出比这更漂亮的森林地战术的战例。再者,这种战法不仅在过去是适用的,在今天也同样是适用的。

马其顿王亚历山大对付塞西亚人的战术·附录四
马其顿王亚历山大对付塞西亚人的战术·附录四作者:J·F·C·富勒 ·英国出自————《装甲战》出自————《现代军事理论》 沙漠地战斗中的决定性因素是水。因此,那些几乎总是骑马的沙漠部落,往往不是设法突击进攻者或把进攻者赶回去,而是把敌人一圈圈地围住,目的是将敌人的行动局限于两个有水地点之间,使敌人不是..
坦克在峡谷地的进攻战术·附录二
坦克在峡谷地的进攻战术·附录二作者:J·F·C·富勒 ·英国出自————《装甲战》出自————《现代军事理论》现在谈谈对隘路的进攻。主要困难是什么?隘路是避不开的,因为贯串隘路的峡谷地是后勤补给线。敌人占领了两侧高地。正面攻敌意味着要遭受严重损失;从翼侧包围敌人往往是不可能的;如果敌人翼侧被包围,即敌人..
突破的理论·附录一
突破的理论·附录一作者:J·F·C·富勒 ·英国出自————《装甲战》出自————《现代军事理论》 突破的主要困难在于要不间断地前进。突破时通过敌翼侧威胁地带比遭敌正面抗击困难要小些。有趣的是,在上次世界大战中,突破所形成的突破口的侧角一般都是四十五度,没有大于四十五度的。这说明什么问题呢?这说明,突破..
内部通信联络·第十七
内部通信联络·第十七作者:J·F·C·富勒·英国出自————《装甲战》出自————《现代军事理论》 《野战条令(二)》的最后一个问题是内部通信联络问题。 这也是《野战条令(三)》写出来之前必须首先彻底研究解决的问题。没有十分有效的内部通信联络系统,就没有确当的指挥控制,而没有指挥控制,行动速度越快,越会增..
命令、指示、报告和电函·第十六
命令、指示、报告和电函·第十六作者:J·F·C·富勒·英国出自————《装甲战》出自————《现代军事理论》 我不止一次地指出过,命令、指示、报告和电函应该抛弃官腔,反映战争的实际情况要直截了当。作战命令的目的在于传递不能用声音直接传递的情况。它可以就是一个“走”或“停”字,也可以是长篇大论。两种情况..
海运、陆运和空运·第十五
海运、陆运和空运·第十五作者:J·F·C·富勒·英国出自————《装甲战》出自————《现代军事理论》由于《野战条令(二)》最后三章讲的都是常规程序,我也就简要地谈谈这些问题。这并不是说这些问题不重要,而是因为这些问题太重要了,它们本身就完全可以形成专卷。在这一章里,首先要指出的是,最近三十年来,部队运..
不发达国家和半开化国家中的战争·第十四
不发达国家和半开化国家中的战争·第十四作者:J·F·C·富勒·英国出自————《装甲战》出自————《现代军事理论》 一百零六、 概述 世界上有许多地方是不发达的,实际上大部分地方迄今仍处于不发达状态,而且可能在一个长时期内还会维持这种状态。但是,半开化的地区也在受文明的影响。道路通了,经商贸易随之开展,..
夜间战斗·第十三
夜间战斗·第十三作者:J·F·C·富勒·英国出自————《装甲战》出自————《现代军事理论》 九十七、 一般原则 无疑未来的机械化部队也会象当今的机械化部队一样,碰到夜战中固有的一些难题。除了飞机和摩托化游击分队外,这些难题将不会比过去更多。 [注:除了在北非的战斗外,这点已被证明是正确的。在北非广阔的空..
防御·第十二
防御(续)·第十二作者:J·F·C·富勒·英国出自————《装甲战》出自————《现代军事理论》 持久防御中应进一步考虑的问题 八十七、 特殊情况 在机械化战争中出现持久防御,初想似乎是一件荒谬绝论的事情,但是,正如我在前面几讲中谈到的,机动作战势必导致阵地战,甚至可能导致1914年-1917年那样的阵地战,所不同的..
防御·第十一
防御·第十一作者:J·F·C·富勒·英国出自————《装甲战》出自————《现代军事理论》 七十七、 一般原则 在战争史上常有人说消极防御必然导致灭亡,而我还没有听人断言:无休止的进攻——即法国人说的“进攻到底”——十之八九也会导致覆没。正确的理解是:作战艺术有赖于进攻和防御之紧密结合,犹如建筑大厦少不了..
进攻·第十
进攻(续)·第十作者:J·F·C·富勒·英国出自————《装甲战》出自————《现代军事理论》 进攻有组织的堑壕防御体系需要进一步考虑的问题 七十一、特殊条件 昨天的特殊条件,到明天,往往就变成了一般条件。火器在首次得到使用时,是特殊武器,经过一、二个世纪以后,就变成了一般武器,因而战争形式完全变了。 在使..
进攻·第九
进攻(续)·第九作者:J·F·C·富勒·英国出自————《装甲战》出自————《现代军事理论》 六十五、进攻中的步兵 在第二讲,我曾谈到了在机械化战争中可资利用的步兵的种类。我指出,如今天所知的那样,步兵已不适应于机械化战斗,我们现在所要求的是: (一)野战工兵,装备有反坦克武器并用越野车辆输送,任务是为占领..
进攻·第八
进攻·第八作者:J·F·C·富勒·英国出自————《装甲战》出自————《现代军事理论》 六十、一般原则 作战原则并不随着武器性质的变化而变化;发生变化的是与武器威力有关的战争的条件。因此,不论使用什么武器,都应当发现敌人,抓住敌人并击中敌人,同时又要不被敌人发现,不被敌人抓住,并且不被敌人击中。可是,..
防护·第七
防护(续)·第七作者:J·F·C·富勒·英国出自————《装甲战》出自————《现代军事理论》 部队驻守时的防护四十八、 警戒的一般情况 显然对增强部队的机动力驻守时防护好坏是有影响的。目前警戒部队主要由步兵担任,其配置应有利于保卫驻守部队,免受敌骑兵和步兵的攻击。把警戒部队配置在足够远的距离上,以使驻守部..
防护·第六
防护·第六作者:J·F·C·富勒 ·英国出自————《装甲战》出自————《现代军事理论》 三十六、一般性防护 重新采用装甲和广泛使用摩托车辆日益改变整个战术。装甲可直接防子弹,摩托车辆可使装甲防护机动化,因此进攻行动就有了新的防护手段,这是一种新的更强的防护手段,为使用更有效的战术创造条件。在使用子弹作..
情报·第五
情报·第五作者:J·F·C·富勒 ·英国出自————《装甲战》出自————《现代军事理论》 二十九、情报的一般原则 情报是战斗的基础,而战斗则是交战部队采取的战术行动。因此情报随着参战部队的特点、武器装备、机动和防护的手段,实际上是参战部队的编成与一般组织等因素而变化的。 例如,步兵部队受道路和铁路等交通..
作战·第四
作战·第四作者:J·F·C·富勒 ·英国出自————《装甲战》出自————《现代军事理论》二十一、概述 战略的目的是以武力而不是以文字来维护一种政治主张。这通常以作战来实现,其真正的目的不是摧毁物质力量,而是在精神上压倒敌人。必须消灭敌人的这一观点,只是在它能导致有益的和平状态时才是合理的。这样如果敌人..
参战的战略准备·第三
参战的战略准备·第三作者:J·F·C·富勒 ·英国出自————《装甲战》出自————《现代军事理论》十八、 概述 在第一讲中,我谈到“战争的性质”时,曾指出工业对军事组织、军事组织对战略与战术的重要性。由于机器控制着社会生活,它最终也将控制军事思想。在近代史上军事思想比社会技术发展至少要落后一代。蒸气动力..
战斗部队及其特点和武器装备·第二
战斗部队及其特点和武器装备·第二作者:J·F·C·富勒 ·英国出自————《装甲战》出自————《现代军事理论》 九、概述 第一次世界大战时的困难在于我们处于一个时代的末尾,今天的困难在于我们处于另一个时代的开端。第一次世界大战期间,防御力量非常强大,步兵的进攻除非有坦克引导,或强大火炮的支援,否则难以奏..
武装部队、部队指挥与军事原则·第一
武装部队、部队指挥与军事原则·第一作者:J·F·C·富勒·英国出自————《装甲战》出自————《现代军事理论》 一、引言 今天各国军队正面临陆战史上规模最大的一次革命,此次革命相当于或可能超过用于海战的蒸气动力的革命。确实,蒸气动力的采用明显地扩大了军队的规模,增大了武器射程和破坏力,增强了军队后勤补..
微信分享
扫描二维码分享到微信或朋友圈